ЖРД РД-0120 (11Д122)

Предыстория

В 1965 году в КБХА велись работы над ядерными ракетными двигателями РД-0410 (11Б91Х) и РД-0411 (главный конструктор — Г.И.Чурсин), в качестве рабочего тела в которых использовался водород. Для этих двигателей были разработаны агрегаты подачи, регулирования и управления, работавшие на жидком водороде. Агрегаты были испытанны в составе «холодного» двигателя с имитацией реакторного подогрева водорода на стенде B-2 в НИИХИММАШе.

Разработка двигателя РД-0120 началась в 1976 году, после принятия правительством решения о разработке ракетной системы "Энергия"-"Буран". Главные конструкторы – Чурсин Г.И., Рачук В.С., ведущий конструктор – Никитин Л.Н.

При разработке агрегатов питания и регулирования был использован опыт создания агрегатов для водородных ЯРД, а также опыт создания водородных ЖРД 11Д56 (тягой 7.5 т, ОКБ-2, гл.конструктор Исаев А.М.) и 11Д57 (тягой 40 т, ОКБ-165, гл.конструктор Люлька А.М.). В КБХА долго обсуждался вопрос о количестве ТНА. При двух ТНА каждый из насосов для компонентов с очень разными физическими свойствами может работать на оптимальных для перекачиваемого компонента оборотах. Однако при такой схеме сложно синхронизировать работу двух ТНА, особенно на переходных режимах - запуске и дросселировании. В итоге, учитывая отсутствие опыта в разработке двигателей с двумя ТНА и имея сомнения в способности отечественной электроники обеспечить синхронизацию насосов, было решено делать один одновальный агрегат (на маршевом двигателе американского шаттла SSME стоят два ТНА).

Первое огневое испытание двигателя на режиме малой тяги длительностью 4.58 с проведено в марте 1979 г. Первое огневое испытание на режиме тяги 100% длительностью 600 с проведено в мае 1984 г.

До первого огневого испытания в составе блока Ц "Энергии" в феврале 1986 г. (двигатель работал на режиме 100%) проведено 385 огневых испытаний 61 доводочного двигателя с суммарной наработкой 48400 с. До первого пуска "Энергии" в мае 1987 г. (двигатель работал на режиме 100 %) проведено 482 огневых испытания 79 доводочных двигателей с суммарной наработкой 75000 с. До поставки двигателя, работоспособного на штатном режиме 106 + 3 % для "Энергии", проведено 689 огневых испытаний 83 доводочных двигателей с суммарной наработкой 133900 с. На 1 марта 1991 г. общая наработка при 785 испытаниях двигателя составляла 166250 с. Наибольшая наработка на одном двигателе - 4072 с при 9 включениях (испытания 1987-1988 гг.). Наибольшее время одного пуска - 1202 с (январь 1988 г.). Наибольший достигнутый режим форсирования - 123 % в течение 100 с (сентябрь 1987 г.).

Основные огневые испытания двигателя РД-0120 проводились на стендах сначала в Загорске, а затем в Нижней Салде (Свердловская область).

В перспективе предполагалось довести тягу двигателя РД-0120 до 230 тонн в пустоте и до 224 тонн на земле, с повышением удельного импульса до 460.5 секунд в пустоте и до 443 секунд на земле, а также сделать его многоразовым по типу РД-170.

Краткая хронология создания двигателя

Февраль-март 1976 г. - правительством принято решение о разработке ракетных систем "Энергия"-"Буран" и "Зенит".

1976 г. - начало разработки двигателя РД-0120.

Март 1979 г. - проведено первое огневое испытание двигателя на режиме малой тяги длительностью 4.58 с.

Май 1984 г. - проведено первое огневое испытание двигателя на режиме тяги 100% длительностью 600 с.

Февраль 1986 г. - первое стендовое испытание двигателя РД-0120 в составе блока "Ц" РН "Энергия". Двигатели работали на режиме тяги 100%.

15 мая 1987 г. - первый пуск РН "Энергия" с двигателями РД-0120 в составе второй ступени. Двигатели работали на режиме тяги 100% вместо штатного для этой РН режима 106%.

15 ноября 1988 г. - второй пуск РН "Энергия" с двигателями РД-0120 в составе второй ступени. Двигатели работали на режиме тяги 106%

Общие сведения

Двигатель выполнен по схеме дожигания генераторного газа после турбины и включает в себя следующие основные агрегаты:

  • камера сгорания
  • турбонасосный агрегат (ТНА) высокого давления
  • бустерный насосный агрегат горючего (БНАГ)
  • бустерный насосный агрегат окислителя (БНАО)
  • газогенератор
  • пневмоклапаны управления запуском и выключением
  • регулятор с электроприводом
  • исполнительный элемент системы управления величиной тяги
  • запальные устройства камеры сгорания
  • система продувки
  • датчики системы аварийной защиты

Таблица 1. Технические параметры двигателя РД-0120 [1], [2], [5]
Параметр Значение Единицы
Номинальный режим (100%) Эксплуатационный режим* (106%)
Тяга
у Земли 147.6 155.6 тонн
1447.5 1526 кН
в пустоте 189 200 тонн
1853.5 1961.3 кН
Давление в камере сгорания 21.9 МПа
223.5 атм
Удельный импульс тяги
у Земли 3463.7 3471.5 м/с
353.2 354 с
в пустоте 4462 4462 м/с
455 455 с
Расход топлива
водород 62.8 кг/с
кислород 376.8 кг/с
Коэффициент соотношение компонентов 6 m(ок)/m(г)
Регулирование соотношения компонентов ±7 (max ±10) %
Время работы 480-500 с
в нештатном режиме полета ракеты до 750 с
Масса двигателя
сухого 3450 кг
Габариты
высота 4550 мм
диаметр 2420 мм
*) Штатный режим при работе в составе ДУ II ступени РН "Энергия" при выводе КК "Буран"

Рис.1. Двигатель РД-0120

Описание конструкции

Пневмогидравлическая схема

Описание


Рис.2.1. Пневмогидравлическая схема [2]
(изображение увеличивается)

Рис.2.2. Пневмогидравлическая схема [4]
(изображение увеличивается)

Рис.2.3. Пневмогидравлическая схема
(изображение увеличивается)

Двигатель содержит (см. рис.2.3) камеру сгорания КС, газогенератор ГГ, ТНА высокого давления, бустерный насосный агрегат горючего БНАГ с турбиной Т2, бустерный насосный агрегат окислителя БНАО с гидротурбиной Т3. ТНА имеет одноблочную конструкцию, включающую в себя трехступенчатый центробежный насос горючего НГ, основной центробежный насос окислителя НОО, дополнительный центробежный насос окислителя НОД и двухступенчатую турбину Т1.

Основной насос окислителя НОО выполнен с двухсторонним входом. Вход основного насоса окислителя соединен с выходом бустерного насоса БНАО. Выход основного насоса окислителя соединен с смесительной головкой камеры КС через дроссель ДР1, пусковой дроссель ДР2 и пуско-отсечной клапан К8.

Дополнительный насос окислителя НОД - с односторонним входом, который соединен со входом основного насоса НОО с помощью перепускных каналов, выполненных в корпусах насосов. Выход дополнительного насоса соединен с газогенератором ГГ через регулятор тяги РТ и клапан К1.

Бустерный насос окислителя БНАО - двухступенчатый шнековый, двухвальный, с соосным расположением валов и приводом ступеней насоса от соответствующих ступеней гидротурбины Т3 с разными скоростями вращения. Вход гидротурбины соединен с отводящим трубопроводом дополнительного насоса НОД. Выход гидротурбины соединен с подводящим трубопроводом основного насоса НОО.

Центробежный насос горючего НГ выполнен трехступенчатым. Вход насоса горючего соединен с выходом бустерного насосного агрегата горючего БНАГ. Выход насоса соединен с газогенератором ГГ через пуско-отсечной клапан К3, а также с рубашкой охлаждения камеры КС через клапан К7.

Бустерный насос горючего БНАГ - шнеко-центробежный, одновальный, с приводом от газовой турбины Т2, вход которой соединен с рубашкой охлаждения, а выход - с смесительной головкой камеры КС.

Для воспламенения компонентов топлива в камере сгорания КС и газогенераторе ГГ предназначены запальные устройства ЗП2 и ЗП1 соответственно. Запальные устройства форкамерно-факельного типа соеденены с отводящим трубопроводом насоса горючего НГ через клапаны К4 и К5. Запальное устройство ЗП1 соеденено с входным трубопроводом основного насоса окислителя НОО через клапан К2, а запальное устройство ЗП2 - с выходным трубопроводом основного насоса окислителя через клапан К9. Каждое запальное устройство снабжено двумя электрическими свечами зажигания.

Выход газогенератора ГГ соединен с входом турбины Т1 ТНА высокого давления. Выход турбины соединен с смесительной головкой камеры КС двумя газоводами. На каждом из газоводов установлен теплообменник для подогрева гелия для наддува бака окислителя ракеты.

Газообразный водород для наддува бака горючего, питания рулевых машин и турбогенераторной системы электроснабжения отбирается после охлаждения камеры сгорания через трубопровод с расходным дросселем ДР3.

Система управления включает пневмоклапаны, баллоны со сжатым гелием и электро-пневмоклапаны. Пневмоклапаны являются исполнительными агрегатами управления запуском и остановом двигателя и приводятся в действие гелием от баллонов высокого давления. Открытие клапанов обеспечивается подачей напряжения на соответствующие электро-пневмоклапаны. Гелий из баллонов через электро-пневмоклапан подается в управляющие полости пневмоклапанов, открывая их.

Регулирование тяги осуществляется регулятором РТ, установленным в магистрали окислителя генератора. Регулирование соотношения компонентов осуществляется дросселем ДР1, установленным в магистрали окислителя камеры. При этом обеспечение соотношения компонентов топлива в камере при запуске осуществляется пусковым дросселем ДР2.

Работа двигателя

Во время работы жидкий кислород из бака поступает в бустерный насос окислителя БНАО. С выхода бустерного насоса окислителя по подводящему трубопроводу кислород подается на вход основного насоса НОО, откуда по перепускным каналам кислород поступает также на вход дополнительного насоса НОД.

После основного насоса кислород поступает по отводящему трубопроводу с дросселями ДР1, ДР2 и клапаном К8 в смесительную головку камеры сгорания КС. Установленный в этой магистрали дроссель ДР1 обеспечивает регулирование соотношения компонентов в камере сгорания КС.

После дополнительного насоса кислород подается по отводящему трубопроводу с регулятором РТ и клапаном К1 в смесительную головку газогенератора ГГ. Установленный в этой магистрали регулятор РТ обеспечивает регулирование тяги двигателя.

На гидротурбину Т3 бустерного насоса окислителя БНАО подается кислород, отбираемый с выхода дополнительного насоса НОД. После гидротурбины кислород поступает в трубопровод, соединенный с выходом бустерного насоса окислителя, и далее по этому трубопровод - на вход основного насоса окислителя.

Через основной насос окислителя НОО протекает только кислород, поступающий в камеру сгорания КС, а через дополнительный насос НОД - кислород, подводимый в газогенератор и на гидротурбину бустерного насоса окислителя БНАО.

Жидкий водород из бака поступает в бустерный насос горючего БНАГ, с выхода которого водород подводится на вход насоса горючего НГ ТНА высокого дваления. После насоса водород подается по отводящему трубопроводу с клапаном К3 в газогенератор ГГ. Часть жидкого водорода по отводящему трубопроводу поступает в рубашку охлаждения камеры сгорания КС, в котором газифицируется и подается на двухступенчатую газовую турбину Т2 бустерного насоса БНАГ горючего.

Часть газофицированного водорода отбирается из рубашки охлаждения камеры сгорания и через расходный дроссель ДР2 поступает на наддув бака горючего ракеты, а также для питания рулевых машин и турбогенераторной системы электроснабжения.

После турбины Т2 водород по трубопроводу поступает в полость охлаждения огневого (переднего) днища смесительной головки камеры сгорания КС. Охлаждление огневого днища - транспирационное: газообразный водород поступает в огневую камеру через поры в материале огневого днища. Кроме того, часть водорода из полости охлаждения расходуется на создание пристеночного слоя в камере сгорания.

Часть поступившего в газогенератор жидкого водорода расходуется на охлаждение цилиндра газогенератора ГГ. Большая часть жидкого водорода через смесительную головку подается в огневую камеру однозонного газогенератора, где смешивается с кислородом и частично сгорает.

Крутящий момент от турбины Т1 передается к валу насоса горючего НГ, а также через шлицевую рессору к валу основного и дополнительного насосов окислителя.

Во время работы двигателя клапаны К2 и К9 закрыты, и запальные устройства ЗП2 и ЗП1 работают как струйные форсунки горючего, поступающего через открытые клапаны К4 и К5.

Запуск

В исходном состоянии все клапаны закрыты.

Перед запуском двигателя включается профилактическая продувка полости окислителя генератора и камеры, охлаждающего тракта камеры, разделительной полости турбонасосного агрегата.

Затем открываются подбаковые клапаны ракеты (на схеме не показаны) и под воздействием гидростатического напора и давления наддува в баках происходит заполнение насосов и трубопроводов горючего до клапанов К3, К4, К5, К6 и К7, насосов и трубопроводов окислителя - до клапанов К1, К2, К8, К9, К10.

Открытием клапана К6 циркуляции горючего и подачей гелия (азота?) через обратный клапан КО1 на турбину бустерного насоса горючего БНАГ начинается "вялая" раскрутка ротора бустерного насоса, создающего напор, достаточный для обеспечения циркуляции жидкого водорода через насосы горючего, отводящий трубопровод и клапан К6. "Вялая" раскрутка производится минимально необходимое для захолаживания насосов горючего и трубопроводов (до пуско-отсечного клапана К3) время - чрезмерное увеличение этого времени приводит к излишним достартовым выбросам водорода.

Открытием клапана К10 циркуляции окислителя и под воздействием гидростатического напора и давления наддува в баке производится циркуляции жидкого кислорода через насосы окислителя, трубопроводы и клапан К10.

За несколько секунд до запуска подается напряжение на агрегат зажигания.

Затем открытвается клапан (на рис.2.3 не показан) в линии подачи горючего из отводящего трубопровода насоса НГ на охлаждение подшипника турбины, и включается интенсивная продувка линии окислителя запальных устройств. Время выключения интенсивной продувки запальников выбрано таким образом, чтобы к моменту подачи окислителя в магистрали отсутствовало противодавление.

Непосредственно перед запуском запальных устройств производится интенсивная раскрутка ротора бустерного насоса горючего БНАГ для набора давления водорода на входе в запальники. Включается интенсивная продувка магистралей генератора и камеры.

С открытием клапанов К2 и К4 окислитель и горючее поступают в запальник газогенератора, где воспламеняются электрическими свечами.

После открытия клапана К7 происходим заполнение горючим охлаждающего тракта камеры сгоряния.

После этого окислитель и горючее одновременно (с разницей не более 0.2-0.3 с) подаются в газогенератор (открытием клапанов К3 и К1) и окислитель - в смесительную головку камеры сгорания (открытием клапана К8).

Одновременно с открытием клапана горючего газогенератора К3 закрывается клапан циркуляции горючего К6.

После выхода двигателя на режим малой тяги закрытием клапанов К2 и К9 прекращается подача окислителя в запальные устройства и включается интенсивная продувка перекрытых трубопроводов для удаления из них остатков окислителя.

Для исключения образования взрывоопасной смеси газов во внутренних полостях двигателя после его выключения расчетно-экспериментальным путем были отработаны оптимальные по длительности, расходу, месту подвода рабочего тела режимы продувки двигателя гелием и азотом. Эти продувки включаются непосредственно при выключении двигателя и продолжаются в течение всего времени удаления компонентов топлива, предотвращая накопление возможных утечек во внутренних полостях, флегматизируя и удаляя их в атмосферу.

Камера

Камера сгорания представляет собой паяно-сварной неразъемный агрегат и состоит из смесительной головки, камеры сгорания и сопла. Сопло и камера охлаждаются частью водорода, отбираемого после насоса ТНА высокого давления.

Для управления вектором тяги двигателя на смесительной головке камеры установлен узел качания со сферическим шарниром. На шарнире, воспринимающем тягу двигателя, используется специально созданное антифрикционное покрытие "Афтал" с коэффициентом трения 0,018-0,020, способное работать без смазки в течение длительного времени. Принятая кинематическая схема подвески обеспечивает возможность поворота двигателя на угол до 16 градусов, при одновременном отклонении на угол 7-11 градусов в двух взаимно перпендикулярных плоскостях.


Рис.3. Камера сгорания с сегментом сопла двигателя РД-0120

Смесительная головка

Смесительная головка камеры на основе двухкомпонентных соосно-струйных форсунок имеет огневое днище с высокоэффективным транспирационным охлаждением и обеспечивает малорасходную локальную завесу для исключения местных перегревов внутренней стенки цилиндра.

Рис.4. Разрез смесительной головки [8] (изображение увеличивается):

  1. блок подачи генераторного газа
  2. блок подачи окислителя
  3. блок охлаждения огневого днища
  4. корпус блока подачи окислителя
  5. днище
  6. коаксиальные форсунки
  7. каналы подачи окислителя
  8. каналы подачи генераторного газа
  9. корпус блока охлаждения огневого днища
  10. каналы
  11. огневое днище
  12. втулки
  13. каналы
  14. смесительная выравнивающая полость.

Смесительная головка состоит из блока подачи генераторного газа 1, блока подачи окислителя 2, образующих блок подачи компонентов топлива, и блока охлаждения огневого днища 3. Блок подачи окислителя состоит из корпуса 4 и днища 5, в которых установлены двухкомпонентные коаксиальные форсунки 6 с каналами 7 подачи окислителя и каналами 8 подачи генераторного газа.

Блок охлаждения огневого днища состоит из корпуса 9, в днище которого выполнены каналы 10, и огневого днища 11. Между днищами корпуса 9 и огневым 11 установлены втулки 12, охватывающие с кольцевым зазором наконечники форсунок 6. На периферийной части огневого днища 11, между втулками 12 и огневой стенкой камеры сгорания выполнены каналы 13, соединенные с полостью блока охлаждения.

Между блоком подачи компонентов 2 и блоком охлаждения огневого днища 3 выполнена смесительная выравнивающая полость 14, соединенная с полостью блока подачи генераторного газа 1 при помощи каналов 8 внутри форсунок бис полостью блока охлаждения огневого днища 3 при помощи каналов 10.

Смесительная головка работает следующим образом.

Окислитель из полости блока подачи окислителя 2 по каналам 7 внутри форсунок 6 поступает в камеру сгорания для дальнейшего использования.

Одна часть горючего из полости блока охлаждения огневого днища 3 по каналам 10, выполненным в днище корпуса 9, поступает в смесительную выравнивающую полость 14, ограниченную днищем 5 корпуса 4 и днищем корпуса 9, где перераспределяется по форсункам головки, перемешивается с поступившим генераторным газом и по втулкам 12 подается в камеру сгорания. Другая часть горючего по каналам 13 поступает в камеру сгорания между втулками 12 и огневой стенкой камеры сгорания, что обеспечивает пониженное соотношение компонентов в данной зоне и улучшает условия охлаждения стенки.

Генераторный газ из полости блока генераторного газа 1 но каналам 8 внутри форсунок 6 поступает в смесительную выравнивающую полость 14, где перемешивается с горючим, поступившим в смесительную выравнивающую полость из полости блока охлаждения огневого днища 3 по каналам 10, выполненным в днище 9, перераспределяется по втулкам 12 головки и поступает в камеру сгорания.

Турбонасосный агрегат (ТНА) высокого давления

Турбонасосный агрегат высокого давления выполнен по одновальной схеме и состоит из двухступенчатой осевой реактивной турбины, трехступенчатого насоса горючего (давление на выходе из насоса примерно 475 атм.) и двух насосов окислителя (основного и дополнительного).

Вращение ротора ТНА происходит со сверхкритической скоростью (32500 об./мин.), оптимальной для насоса горючего, которая превышает оптимальную скорость для насосов окислителя. Так как основным потребителем мощности является насос горючего, ТНА в целом имеет высокий к.п.д.

Насос окислителя состоит из основного и дополнительного насосов, работающих параллельно: через основной насос протекает только кислород, поступающий в камеру сгорания, а через дополнительный насос - только кислород, подводимый в газогенератор и на гидротурбину бустерного насоса окислителя. Такая конструкция снижает расход через каждый из насосов, тем самым улучшая их антикавитационные качества на высокой скорости.

Основной насос окислителя выполнен с двухсторонним входом, дополнительный насос окислителя - с односторонним входом. Давление в газогенераторе выше давления в камере сгорания, поэтому напор, а следовательно, и наружный диаметр крыльчатки, дополнительного насоса больше, чем у основного насоса.

Насосы имеют общее подводящее устройство (18 на схеме ТНА), при этом подвод кислорода в правый (по схеме) вход основного насоса и в дополнительный насос осуществляется через перепускные каналы, выполненные в литых корпусах насосов.

Вал насосов окислителя соединен шлицевой рессорой с валом насоса горючего и образует общий ротор с общей турбиной.

Заготовки крыльчаток насоса горючего выполнены по технологии горячего изостатического прессования гранул из титанового сплава ВТ5-1КТ. Примененная технология делает возможным получения заготовок сложной формы с минимальными припусками на последующую обработку. При этом заготовка имеет мелкозернистую, равноосную и равномерную структуру, а также высокие прочностные свойства, обеспечивающие высокую стабильность эксплуатационных характеристик. Разрушающие окружные скорости крыльчаток такой конструкции составляют 807 м/с при номинальной температуре и 928 - при температуре жидкого водорода. Рабочая скорость - до 600 м/с.

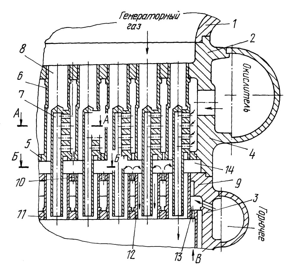
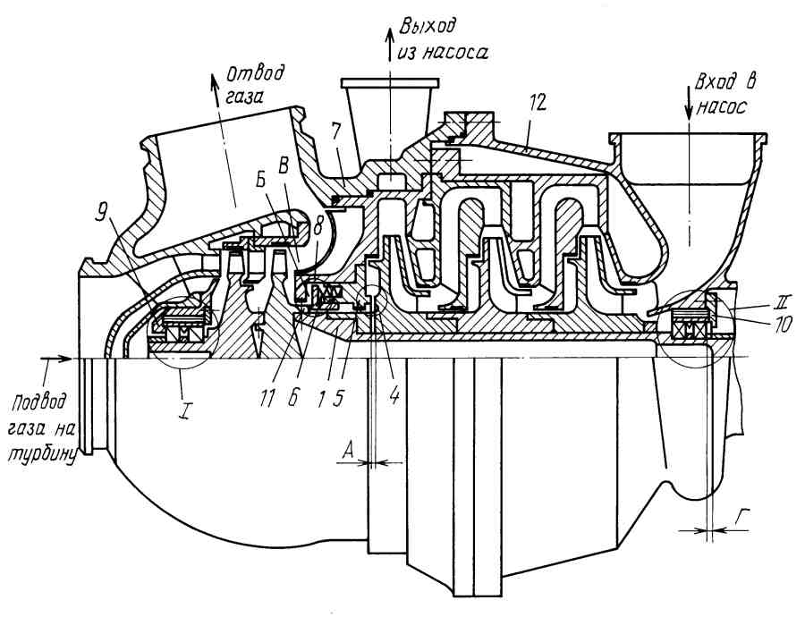
Рис.5. Схема ТНА высокого давления [13]:
  1. подвод генераторного газа к турбине
  2. отвод отработанного генераторного газа
  3. подвод жидкого водорода к насосу
  4. отвод жидкого водорода из насоса
  5. подвод жидкого кислорода к насосам
  6. отвод жидкого кислорода из основного насоса к КС
  7. отвод жидкого кислорода из дополнительного насоса к ГГ и гидротурбине БНАО
  8. турбина
  9. вал турбины и насоса горючего
  10. корпус насоса горючего
  11. крыльчатка насоса горючего (3 ступени)
  12. шлицевая рессора
  13. вал основного и дополнительного насосов окислителя
  14. крыльчатка основного насоса окислителя
  15. перепускные каналы
  16. крыльчатка дополнительного насоса окислителя
  17. подвод жидкого кислорода к дополнительному насосу окислителя
  18. общий для основного и дополнительного насосов окислителя подвод жидкого кислорода

Рис.6.1. ТНА высокого давления [14] (изображение увеличивается)

Рис.6.2. Ротор ТНА с турбиной и крыльчатками насоса горючего [14]

Упругодемпферные опоры

В конструкции ТНА применены пластинчатые упругодемпферные опоры, обеспечивающие необходимое демпфирование и переход критических частот вращения с минимальными нагрузками на подшипниках.


Рис.7. Турбина и насос горючего [9] (изображение увеличивается)

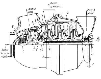
Корпус турбины 7 и корпуса насоса 12 соединенных между собой крепежными элементами (шпильками). Ротор 1 через подшипниковые опоры 2 и 3, установленные на нем, опирается на упругодемпферные элементы 13, установленные в корпуса 7 и 12. Автомат осевой разгрузки ротора 4 состоит из подвижной пяты, выполненной на роторе 1, и неподвижной пяты 5 на корпусе турбины 7. Между ротором 1 и пятой 5 установлен зазор А. Ход ротора 1 ограничивается упорами 9 и 10. Между ротором и упорами установлен зазор Г. Полость турбины В отделяется от полости насоса Б стояночным торцевым уплотнителем 8, прижимающимся к пяте 11 ротора 1, пружинами 6. Подшипниковая опора 2, установленная в корпусе турбины 7, состоит из сдвоенных, специально подобранных по геометрическим параметрам подшипников, разнесенных в осевом направлении. Подшипниковая опора 3, установленная в корпусе насоса 12, аналогична по конструкции опоры 2.

Между подшипниками опор 2 и 3 по наружному кольцу устанавливаются пружины 14 и 15, между внутренними дистанционное кольцо 16.

Подшипники на роторе 1 закреплены гайками 17 и 18. Охлаждение подшипников 2 осуществляется компонентом за счет перетока его из полости Д в полость В, охлаждение подшипников 3 осуществляется перетоком компонента из полости Е в Ж.

В собранном агрегате ротор 1 под действием пружин 6 через пяту торцевого уплотнения 11 смещен в сторону пяты автомата 5. Этим исключается переток рабочей жидкости в полость турбины В и обеспечивается более спокойный запуск и останов двигателя без забросов температуры и давления в полости турбины.

Установка и регулирование упора 9 осуществляется так, что между ротором 1 и пятой 5 обеспечивается гарантированный зазор А.

Это достигается тем, что при сборке агрегата ротор совместно с опорой 2 механически продавливается в направлении пяты 5 до взаимодействия опоры 2 с упором 9 под действием осевой нагрузки, воздействующей на него при заполнении полостей агрегата и слабом вращении ротора при захолаживании конструкции. В этот момент пружина 14 опоры 2 полностью выжимается, становится жесткой втулкой, а усилие через внутреннее кольцо, тела качения и наружные кольца замыкается на упоре 9 корпуса 7.

Зазор А начинается как сумма величин смещения ротора под нагрузкой и величины зазора, равного 0.2+0.05 мм. При выходе на режим в процессе раскрутки ротора 1, нарастания давления за насосом и в полости Б торцевое уплотнение 8 отжимается от пяты 11 и в таком положении остается в течение работы на стационарном режиме.

При останове давление в полости Б падает и пружина 6 вновь прижимает торцевое уплотнение 8 к пяте 11. Во время работы, запуска и останова осевая нагрузка на ротор 1 может менять направление воздействия в сторону от пяты 5. При этом ограничение осевого хода ротора 1 в этот момент производится упором 10. Положение упора 10 и его регулирование осуществляется так, чтобы ограничить ход ротора 1 на нестационарных режимах работы до минимума. Это позволяет избежать воздействия на опоры 2 и 3 значительных осевых ударных нагрузок.

В этой связи между наружными кольцами подшипников 2 и 3 установлены пружины 14 и 15.

Установка пружин преследует следующие цели:

  • обеспечение плавного осевого перемещения ротора в любом направлении без передачи ударных нагрузок на подшипники;
  • создание дозированной осевой нагрузки на подшипники при работе на режиме;
  • регулирование жесткости опоры.

Усилия пружин 14 и 15 выбираются из условия отсутствия проскальзывания тел качения и создания равномерного вращения сепаратора, а также требуемой податливости опор 2 и 3.

При выборе рабочего диапазона оборотов о учетом надежной отстройки от критических оборотов гибкого ротора 1 в расчете учитывалась податливость опоры в целом. В свою очередь, податливость опор 2 и 3 зависит от жесткости упругодемпферных элементов, а также от жесткости подшипников.

Выбранная необходимая жесткость подшипников фиксируется пружинами 14 и 15. При этом осевое усилие, создаваемое пружиной, составляет 200 кгс.

Ход пружин 14 и 15 соизмерим с величиной осевой игры в подшипниках. Пружина с выбранным ходом работает как жесткая втулка. Это позволяет более равномерно нагружать оба подшипника опоры дозированной нагрузкой, а при появлении больших нерасчетных и кратковременно действующих нагрузках равномерно нагружать оба подшипника.

Установка сдвоенных подшипников 2 и 3, разнесенных в осевом направлении, позволяет воспринимать повышенные радиальные нагрузки на режиме, сохранять осевую центровку гибкого ротора 1 на упругодемпферных элементах 13.

Осевой ход ротора 1 складывается из торцевого зазора Г между опорой 3 и упором 10 и осевой игры подшипника (хода пружины 15).

Регулирование зазора Г осуществляется из условия гарантированного обеспечения осевой разгрузки ротора на промежуточных режимах и исключения ударного характера нагружения при выходе на промежуточные режимы. При сдвиге ротора 1 под нагрузкой, более или равной суммарному усилию пружин 15, 6, и усилия, необходимого для преодоления трения, в направлении упора 10 ход его в собранном агрегате составляет 1-1,5 мм. При работе ТНА на стационарном режиме для полной осевой разгрузки ротора 1 требуется ход 1,6-2,5 мм. Он обеспечивается тем, что вследствие упругих температурных и силовых деформаций корпусов упоры 9 и 10 совместно с корпусами раздвигаются и не препятствуют работе автомата, обеспечивая ротору требуемый ход. Фиксация ротора 1 в осевом направлении в этот момент осуществляется пятой автомата 5, к которой стремится ротор под действием избыточной осевой нагрузки и относительно которой остается в равновесном состоянии. При останове давление в полостях агрегата падает, упругая деформация корпусов исчезает и осевая фиксация ротора вновь переходит на упоры 9 и 10. Суммарные осевые деформации корпуса турбины 7 и насоса 12 в зоне упругих деформаций могут достигать 3-5 мм. Подпружиненный ротор 1 и установка пружин 14 и 15 позволяют также избежать ударных нагружений на опоры при транспортировании двигателя.

Осевая разгрузка ротора ТНА высокого давления


Рис.8. Устройство для осевой разгрузки ротора ТНА [10]

Устройство включает две разгрузочные полости. Разгрузочная полость 4 крыльчатки выполнена со стороны основного диска крыльчатки третьей ступени насоса, разгрузочная полость 5 турбины со стороны диска второй ступени турбины.

Разгрузочная полость 4 крыльчатки ограничена уплотнением 6 на периферийной части диска крыльчатки и торцовым регулирующим элементом 7 у ступицы крыльчатки. После регулирующего элемента выполнена полость слива 8, которая соединена со входом в крыльчатку 9 второй ступени с помощью отверстий 10,11 в крыльчатках и кольцевого канала 12, образованного наружной поверхностью вала и внутренней поверхностью ступиц крыльчаток.

Разгрузочная полость 5 турбины ограничена разделительным уплотнением 13 и кольцевым выступом 14 у периферийной части диска турбины. Между кольцевым выступом и диском турбины выполнен торцовый регулирующий элемент 15. Между полостью слива 8 разгрузочной полости крыльчатки и разделительным уплотнением 13 выполнена разделительная полость 17, соединенная каналами 18 с полостью 19 за крыльчаткой. Разделительная полость 17 отделена от полости 8 слива уплотнением ротора 16. Подвод газа 20 на турбину осуществляется со стороны, противоположной входу 21 в насос. Ротор может свободно перемещаться в осевом направлении. При смещенном в сторону турбины роторе величина осевого зазора в регулирующем элементе 15 равна осевому ходу ротора.

При работе двигателя осевое усилие на турбине, действующее в сторону насоса, уравновешивается действующим в сторону турбины осевым усилием в насосе. При изменении режима работы двигателя происходит разбалансировка осевых усилий турбины и насоса и ротор 3 начинает перемещаться в осевом направлении. При перемещении ротора изменяется осевой зазор в регулирующем элементе 7 разгрузочной полости крыльчатки, что приводит к изменению давления в разгрузочной полости 4 и усилия на основном диске крыльчатки. Перемещение ротора прекращается, когда приращение усилия на диске крыльчатки уравновесит осевое усилие, вызвавшее перемещение ротора. После регулирующего элемента 7 рабочая среда из разгрузочной полости 4 поступает в полость слива 8 и далее через отверстия 10, 11 и кольцевой канал 12 на вход в крыльчатку 9 второй ступени. При работе разгрузочного устройства используется перепад давлений, создаваемый двумя ступенями насоса. Благодаря этому разгрузочное устройство может уравновешивать большие осевые усилия при небольших величинах зазора в регулирующем элементе 7 и при увеличенном осевом зазоре в регулирующем элементе 15 разгрузочной полости 5 турбины. При увеличенном зазоре в регулирующем элементе 15, существенно превышающем зазор в разделительном уплотнении 13, на давление в разгрузочной полости 5 не оказывает влияние утечка рабочей среды через разделительное уплотнение и давление в разгрузочной полости 5 практически равно давлению у корня лопаток турбины.

Запуск двигателя осуществляется при повышенном перепаде давлений на турбине. Это создает повышенное осевое усилие на турбине, которое не может уравновесить разгрузочная полость крыльчатки. Поэтому при запуске двигателя ротор перемещается в сторону насоса до достижения малых величин осевого зазора в регулирующем элементе 15. Перемещение ротора при малых величинах осевого зазора в регулирующем элементе 15 приводит к увеличению давления в разгрузочной полости 5 и усилия на диске турбины. Перемещение ротора прекращается, когда приращение давления в разгрузочной полости 5 турбины сбалансирует осевое усилие, нескомпенсированное разгрузочной полостью 4 крыльчатки.

При работе двигателя на рабочих режимах осевое усилие на турбине уменьшается, ротор перемещается в рабочее положение, при котором в регулирующем элементе 15 устанавливается повышенный осевой зазор и разгрузочная полость 5 турбины исключается из работы.

Бустерный насосный агрегат горючего (БНАГ)

Для обеспечения бескавитационной работы насоса горючего ТНА высокого давления при заданном давлении во входной магистрали (1.35 атм.) в двигателе предусмотрен бустерный насосный агрегат горючего (БНАГ).

Бустерный насосный агрегат горючего - шнеко-центробежный, одновальный, с приводом от двухступенчатой газовой турбины. Рабочим телом турбины является газифицированный в рубашке охлаждения камеры сгорания водород.

Давление горючего на выходе из бустерного насоса составляет 44 атм.

Рис.9. Схема БНАГ [13]:
  1. подвод газообразного водорода из рубашки охлаждения камеры
  2. отвод отработанного водорода в смесительную головку камеры
  3. подвод жидкого водорода в насос
  4. отвод жидкого водорода из насоса

Бустерный насосный агрегат окислителя (БНАО)

Для обеспечения бескавитационной работы насосов осислителя ТНА высокого давления при заданном давлении во входной магистрали (2.1 атм.) в двигателе предусмотрен бустерный насосный агрегат окислителя (БНАО).

Бустерный насос окислителя - осевой двухступенчатый шнековый, двухвальный, с соосным расположением валов и приводом ступеней насоса от соответствующих ступеней гидротурбины с разными скоростями вращения. Рабочим телом гидротурбины является жидкий кислород, отбираемый из отводящего трубопровода дополнительного насоса окислителя ТНА высокого давления. После гидротурбины жидкий кислород сбрасывается в подводящий трубопровод основного насоса ТНА.

Давление окислителя на выходе из бустерного насоса составляет 23 атм.

Рис.10. Схема БНАО [13]:
  1. трехступенчатая гидротурбина
  2. подвод жидкого кислорода к гидротурбине
  3. отвод отработанного жидкого кислорода
  4. подвод жидкого кислорода в насос
  5. отвод жидкого кислорода из насоса


Рис.11.1 БНАО [15]:

  1. ступень низкого давления
  2. корпус насоса
  3. подшипник
  4. канал между ступенями насоса
  5. ступень высокого давления
  6. подшипник
  7. отводящее устройство (диффузор)
  8. фланец отводящего устройства насоса
  9. уплотнение
  10. корпус отводящего устройства турбины
  11. двухступенчатая высокоскоростная турбина
  12. одноступенчатая низкосокоскоростная турбина
  13. корпус турбины с сопловыми устройствами
  14. подводящее устройство турбины
  15. подшипник
  16. фланец отводящего устройства турбины
  17. внешний высокоскоростной вал
  18. подшипник
  19. внутренний низкоскоростной вал


Рис.11.2 БНАО [14].

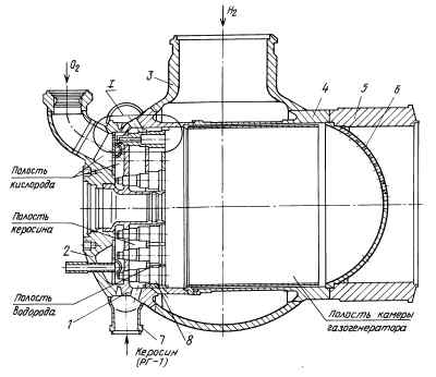
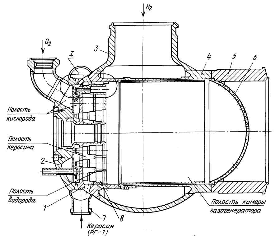
Газогенератор

Рис.12. Газогенератор [15]:
  1. посадочное место запального устройства
  2. подвод окислителя
  3. смесительная головка
  4. подвод горючего
  5. рубашка охлаждения
  6. выравнивающая решетка

Газогенератор вырабатывает газ с избытком горючего для привода турбины ТНА высокого давления и представляет собой паяно-сварную конструкцию, состоящую из смесительной головки, коллектора подвода горючего и корпуса.

Газогенератор двигателя - однозонный: все топливо поступает в огневую камеру через смесительную головку, содержащую струйно-центробежные двухкомпонентные форсунки. В периферийном ряду смесительной головки также применены соосно-струйные форсунки.

Выравнивающая решетка обеспечивает заданную неравномерность температурного поля генерируемого газа, температура которого на выходе из генератора составляет 800 K.

Охлаждение газогенератора осуществляется водородом, поступающим в рубашку охлаждения из коллектора горючего. После рубашки охлаждения водород сбрасывается в цилиндр газогенератора.

Модификации

РД-0120М (11Д122А)

С 1987 в КБХА велись работы над версией двигателя для РН "Энергия-М". Отличительной особенностью двигателя была способность дросселирования тяги до 28%. Работы были прекращены в начале 1990-х годов.

Сопло с компенсацией потерь от перерасширения


Рис.13. Сопло с вставкой [5]

Двигатель РД-0120 оснащался высотным соплом, обеспечивающим высокое значение удельного импульса в разреженной атмосфере и в вакууме.

Для снижения потерь от перерасширения при работе у Земли предполагалось использование внутреннего сопла-вставки, уменьшающей геометрическую степень расширения сопла и не допускающей отрыва потока от его стенки при работе двигателя в плотной атмосфере.

При достижении заданной высоты вставка удаляется, и сопло начинает работать при степени расширения, обеспечивающей максимальное значение удельного импульса.

Огневые испытания двигателя с вставкой на режиме тяги 50% подтвердили увеличение удельного импульса на уровне Земли на 21.8%. Расчетное увеличение удельного импульса на режиме тяги 100% составляет 9.2%.

Вставка выполнена из композитного материала типа "углерод-углерод", что исключает необходимость ее охлаждения. Модификация не требует внесения изменений в конструкцию двигателя.

Трехкомпонентный двигатель РД-0750

В 1970-1990 годах была популярной идея созадания одноступенчатого средства выведения многократного использования. Рассматривались различные конфигурации носителей с различными ДУ. Было показано, что минимальная сухая масса носителя при фиксированной массе полезной нагрузки достигается при использовании многорежимной ДУ, которая на начальном участке выведения работает на плотном топливе с высоким значением объемного удельного импульса, а на остальной части тракетории - на высокоэнергетичном топливе, обеспечивающем максимальное значение удельного импульса. Поскольку стоимость разработки и эксплуатации зависит от сухой массы аппарата, создание многорежимных ЖРД представлялось перспективной задачей.

В 1993-1998 годах в КБХА в инициативном порядке проведен большой объем проектных, расчетно-исследовательских и экспериментальных работ по созданию трехкомпонентного двухрежимного двигателя на базе двигателя РД-0120. Двигатель на первом режиме работает на кислороде и керосине с небольшой добавкой водорода, на втором – на кислороде и водороде.

В результате проведенных работ впервые в практике создания ЖРД был разработан трехкомпонентный двухрежимный газогенератор, который успешно прошел стендовые испытания в КБХА и в составе двигателя – демонстратора РД-0750Д (ведущий конструктор — Ю.А.Мартыненко) в НИИХИММАШе.

Таблица 2. Технические параметры двигателя РД-0750 [5]
Параметр Значение Единицы
Режим 1 Режим 2
Тяга
у Земли 94.5 -- тонн
в пустоте 134.3 79 тонн
Давление в камере сгорания 14.7 8.1 МПа
Удельный импульс тяги
у Земли 295 -- с
в пустоте 419 452 с
Расход топлива
водород 29.2 25.5 кг/с
9.1 14.6 %
керосин 33.2 -- кг/с
10.4 -- %
кислород 258.0 149.3 кг/с
80.5 85.4 %
Коэффициент соотношение компонентов 4.13 5.85 m(ок)/m(г)

Для снижнения стоимости разработки предполагалось внесение минимально необходимых изменений в конструкцию двигателя-прототипа.


Рис.14. Пневмогидравлическая схема с указанием изменений в базовом двигателе [5]

Был разработан, изготовлен и испытан на специальном стенде полноразмерный прототип трехкомпонентного газогенератора. Стенд был снабжен системой подачи, имитируещей процессы, могущие иметь место в реальном трехкомпонентном двигателе - в том числе переходные процессы при запуске и останове двигателя. На выходе газогенератора было установлено расходное сопло, имитирующее сопротивление турбины и камеры сгорания.

Всего в 1995-1996 годах было проведено пять испытаний трехкомпонентного газогенератора. Все испытания производились при пониженном давлении (вследствие ограничений, накладываемых испытательным стендом).

Генерируемый газ не содержал сажи. Неравномерность поля температур на выходе генератора на обоих режимах не превышала 5% (в том числе с учетом пониженной температуры в пристеночном слое).


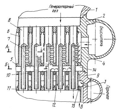
Рис.15. Газогенератор [11] (изображение увеличивается):
  1. трехполостная смесительная головка
  2. блок наружного днища
  3. блок коллектора водорода
  4. камера
  5. переходник
  6. выравнивающая решетка
  7. блок коллектора керосина
  8. трехкомпонентная форсунка

Газогенератор содержит трехполостную смесительную головку 1, блок наружного днища 2, блок коллектора 3 водорода, камеру 4, переходник 5, сферическую решетку 6, блок коллектора 7 керосина. Смесительная головка состоит из трех днищ и закрепленных между ними трехкомпонентных форсунок 8.

В трехкомпонентной форсунке форкамерного типа кислород в форкамеру форсунки подается через тангенциальные отверстия и центральное сопло, керосин подается через два каскада отверстий, где первый каскад образован каналами "а" и "б", второй каскад - каналом "в". Водород в камеру газогенератора подается через струйные каналы "г", выполненные на торце форсунки вокруг сопла керосина. В форсунке такой конструкции процесс горения основан на поочередном сжигании керосина и водорода в кислороде, чем обеспечивается получение генераторного газа без твердых частиц углерода (сажи).

Было разработано еще несколько вариантов конструкции трехкомпонентной смесительной головки [8].

Использованные источники информации

  1. РД-0120 на сайте КБХА
  2. Губанов Б.И. Триумф и трагедия 'Энергии'. О маршевом кислородно-водородном двигателе РД-0120
  3. Двигатели второй ступени РД-0120
  4. Добровольский М.В. Жидкостные ракетные двигатели. - М.: МГТУ, 2005.
  5. Gontcharov N.S., Orlov V.A., Rachuk V.S., Rudis M.A., Shostak A.V., Starke R.G., Hulka J.R. Tripropellant Engine Technology for Reusable Launch Vehicles. - PROGRESS IN ASTRONAUTICS AND AERONAUTICS, 2004, VOL 200.
  6. Молодцов В. Пилотируемые космические полеты
  7. Encyclopedia Astronautica
  8. Описание изобретения к патенту Российской Федерации RU 2127820. СМЕСИТЕЛЬНАЯ ГОЛОВКА КАМЕРЫ СГОРАНИЯ ЖИДКОСТНОГО РАКЕТНОГО ДВИГАТЕЛЯ.
  9. Описание изобретения к патенту Российской Федерации RU 2083881. ТУРБОНАСОСНЫЙ АГРЕГАТ.
  10. Описание изобретения к патенту Российской Федерации RU 2099567. УСТРОЙСТВО ДЛЯ ОСЕВОЙ РАЗГРУЗКИ РОТОРА ТУРБОНАСОСНОГО АГРЕГАТА.
  11. Описание изобретения к патенту Российской Федерации RU 2108477. СПОСОБ ПОЛУЧЕНИЯ РАБОЧЕГО ТЕЛА НА ТРЕХКОМПОНЕНТНОМ ТОПЛИВЕ И УСТРОЙСТВО ДЛЯ ЕГО ОСУЩЕСТВЛЕНИЯ.
  12. Описание изобретения к патенту Российской Федерации RU 2065068. ЭКСПЕРИМЕНТАЛЬНЫЙ ЖИДКОСТНЫЙ РАКЕТНЫЙ ДВИГАТЕЛЬ С ДОЖИГАНИЕМ.
  13. Описание изобретения к патенту Российской Федерации RU 2099569. КИСЛОРОДНО-ВОДОРОДНЫЙ ЖИДКОСТНЫЙ РАКЕТНЫЙ ДВИГАТЕЛЬ.
  14. ФГУП "Воронежский механический завод".
  15. George P. Sutton "History of Liquid Propellant Rocket Engines"